购前需知
1、本店演示请勿修改管理员密码,方便他人,谢谢!
2、买之前请在演示站进行测试,测试多久都行,请确保要的是演示站这种再下单。
免责声明:
购买前有演示的先看演示站测试,没演示的先联系客服询问完在下单,保证与演示站相同。
购买用户严禁将本产品用于与中国现行法律相违背的一切行为;否则,请停止购买,如坚持购买使用一切法律责任 及 所有后果均由购买使用方承担,与本店无关,并且本店有权停止一切相关服务;特此声明。
产品说明
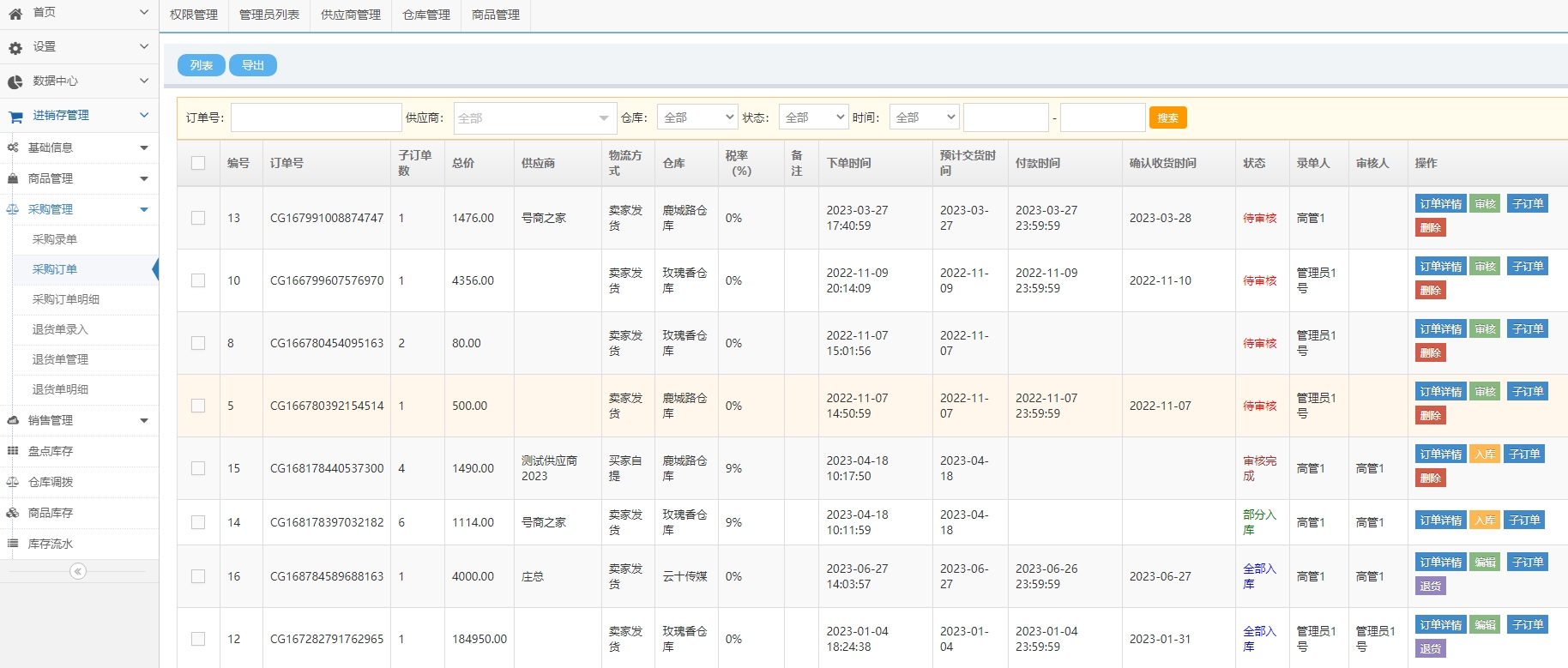
主要功能:客户管理,供应商管理,采购管理,销售管理,盘点管理,商品库存管理,库存流水,库存报表,财务报表等.手机端也可操作查看。







